ВК (М12...20) — КАБЕЛЬНЫЕ ВВОДЫ ВКД С СИСТЕМОЙ ВЕНТИЛЯЦИИ

Соответствует BIM-стандарту 2.0
Описание

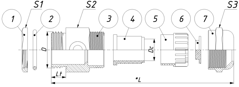
Кабельный ввод с системой вентиляции, совмещают в себе ввод, и элемент выравнивания давления. Вводы такого типа производятся из латуни с никелевым покрытием. Преимущества кабельного ввода и системы вентиляции объединены в одном изделии. Свойства мембраны остаются неизменными при любых диаметрах (указанных в диапазоне) используемого кабеля. Установка таких вводов позволяет избежать сверления дополнительных отверстий для вентиляции и использования дополнительного оборудования. Кабельный ввод с системой вентиляции позволяет сохранить степень защиты оборудования по IP68 и одновременно позволяет оборудованию "дышать". Применяется для обеспечения надёжного и безопасного ввода и фиксации небронированного кабеля в корпус электротехнического устройства, в процессе работы которого происходит нагрев комплектующих и давление внутри корпуса увеличивается, при остывании давление уменьшается, вентилируемый кабельный ввод выравнивает давление внутри корпуса, а так же не допускать образование конденсата внутри корпуса оборудования

Параметры
Категория
Кабельные лотки (соединители, крышки, ответвители)
Категория
Электроснабжение
Материал
Латунь
Другие модели производителя
ГОФРОМАТИК
КК (4...12 ОТВЕРСТИЙ) — КОРОБКА МЕТАЛЛИЧЕСКАЯ С ЗАГЛУШКАМИ БЕЗ КЛЕММНИКОВ IP65
ГОФРОМАТИК
ККМТ (10...20) — КОРОБКА КЛЕММНАЯ IP31
ГОФРОМАТИК
КЗНА (08...48) — КОРОБКА КЛЕММНАЯ С ЗАЖИМАМИ НАБОРНЫМИ IP43 (ПВХ ВВОД)
ГОФРОМАТИК
КК — КОРОБКА КЛЕММНАЯ У614А У615А IP54 И IP65 (ЛАТУННЫЙ ВВОД)
ГОФРОМАТИК
КР — КОРОБКА РАСПРЕДЕЛИТЕЛЬНАЯ С ОТВЕРСТИЯМИ И БЕЗ ОТВЕРСТИЙ IP 30, IP 40
ГОФРОМАТИК
КС (10...40) — КОРОБКА СОЕДИНИТЕЛЬНАЯ IP54 И IP65 (ЛАТУННЫЙ ВВОД)
ГОФРОМАТИК
КМ (43-... 65-...) — КОРОБКА МОНТАЖНАЯ IP43 IP54 И IP65 (ЛАТУННЫЙ ВВОД, ПВХ ВВОД И МЕТАЛЛИЧЕСКИЕ ЗАГЛУШКИ)
ГОФРОМАТИК
ККМА (10...20) — КОРОБКА КЛЕММНАЯ IP54 С МУФТАМИ АТК (ТРУБА-КОРОБКА)
ГОФРОМАТИК
КСМР (10...20) — КЛЕММНЫЕ КОРОБКА СОЕДИНИТЕЛЬНАЯ С МУФТАМИ МВ-М(РКН) IP54 (МЕТАЛЛОРУКАВ-КОРОБКА)
ГОФРОМАТИК
КЗНС (08...48) — КОРОБКА КЛЕММНАЯ С ЗАЖИМАМИ НАБОРНЫМИ IP54 И IP65 (ПВХ ВВОД)
ГОФРОМАТИК
РКВ (12...100) — РЕЗЬБОВОЙ КРЕПЕЖ IP54 (С ВНУТРЕННЕЙ РЕЗЬБОЙ)
ГОФРОМАТИК
МТК ЛС-НС (15...40) — МУФТА ВВОДНАЯ С НАРУЖНОЙ РЕЗЬБОЙ НИКЕЛИРОВАННАЯ ЛАТУНЬ И НЕРЖ СТАЛЬ (ТРУБА-КОРПУС)
Модели других производителей